cat
by
vin
Найти
Каталоги
Главная
AUDI · 100
Узел
100
1994-
Датчики, блоки, клапана, регуляторы системы
Раздел
Компрессор кондиционера
Запчасти
Радиатор кондиционера
Запчасти
Отопитель салона
Раздел
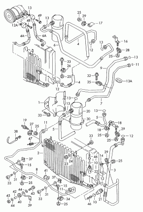
Патрубки, трубки системы
Раздел
Радиатор отопителя салона
Раздел
Воздуховоды
Запчасти