catbyvin

1800tiSA

Серия: NK

Впуск./выпуск.клапан мех.клап.газораспр.
Раздел
Маслоизмерительный щуп
Раздел
Водяная помпа
Раздел
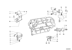
Картер двигателя
Раздел
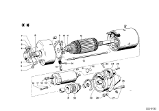
Детали генератора
Раздел
Распределитель зажигания
Раздел
Система подачи топлива/насос/фильтр
Раздел
Водяные шланги системы охлаждения
Раздел
Система выпуска ОГ
Раздел
главный цилиндр сцепления
Раздел
Эласт.муфта/промеж.опора карданного вала
Раздел
Труба рулевой колонки/облицовка
Раздел
Lenkrad
Раздел
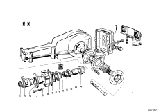
Картер редуктора заднего моста/крышка
Раздел
Ведомая шестерня редукт.задн.моста встр.
Раздел
выходной вал
Раздел
Барабанный тормозной механизм задн.кол.
Раздел
Стояночный тормоз/управление
Раздел
Тормозной механизм переднего колеса
Раздел
Привод педали акселератора/рычаги и тяги
Раздел
детали передка кузова
Раздел
Брызговик Зд/детали днища
Раздел
Дверь Пд, петли/ограничитель двери
Раздел
Задняя дверь - петля/ограничитель двери
Раздел
Капот/дополнительные элементы
Раздел
Багажная дверь/ петли/ запорный механизм
Раздел
Наружные накладки / декоративные решетки
Раздел
Эмблемы / надписи
Раздел
Остекление
Раздел
Обшивка двери Пд
Раздел
Обшивка двери Зд
Раздел
Сдвижная крышка люка
Раздел
Блок предохранителей
Раздел
Стеклоомыватель
Раздел
Контрольные приборы/дополнит.элементы
Раздел
Фара
Раздел
ZB Heizgeraet
Раздел
Амортизац.стойка Пд, дополнит.элементы
Амортизац.стойка Пд, дополнит.элементы
Запчасти
Амортизационная стойка Пд
Амортизационная стойка Пд
Запчасти
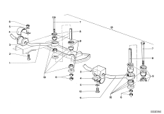
Балка переднего моста/поперечный рычаг
Балка переднего моста/поперечный рычаг
Запчасти
Блок задних фонарей
Блок задних фонарей
Запчасти
Боковой каркас-лонжерон/стойки
Боковой каркас-лонжерон/стойки
Запчасти
Вал рулевого управления
Вал рулевого управления
Запчасти
Витая пружина Зд
Витая пружина Зд
Запчасти
Внешнее перекл.пер./рычаг ПП
Внешнее перекл.пер./рычаг ПП
Запчасти
Всасывающий патрубок
Всасывающий патрубок
Запчасти
Выпускной коллектор
Выпускной коллектор
Запчасти
Главный тормозной цилиндр
Главный тормозной цилиндр
Запчасти
Головка блока цил., крышка, уплотнения
Головка блока цил., крышка, уплотнения
Запчасти
Детали распределителя зажигания
Детали распределителя зажигания
Запчасти
Детали элемента блокировки 40%
Детали элемента блокировки 40%
Запчасти
Домкрат
Домкрат
Запчасти
Дополнительная фара
Дополнительная фара
Запчасти
Жгут проводов
Жгут проводов
Запчасти
Замок вала рул.кол./выключ.заж.и старт.
Замок вала рул.кол./выключ.заж.и старт.
Запчасти
Защитная окантовка/накладки порогов
Защитная окантовка/накладки порогов
Запчасти
Звуковой сигнал
Звуковой сигнал
Запчасти
Исполнительный цилиндр привода сцепления
Исполнительный цилиндр привода сцепления
Запчасти
Карбюратор дополнительные элементы
Карбюратор дополнительные элементы
Запчасти
Картер двигателя дополнительные элементы
Картер двигателя дополнительные элементы
Запчасти
Катушка зажигания/свеча зажигания
Катушка зажигания/свеча зажигания
Запчасти
Коленчатый вал дополнительные элементы
Коленчатый вал дополнительные элементы
Запчасти
Коленчатый вал/ маховик
Коленчатый вал/ маховик
Запчасти
Корпус блока ГРМ
Корпус блока ГРМ
Запчасти
Корпус воздушного фильтра
Корпус воздушного фильтра
Запчасти
Краска-аэрозоль акриловая
Краска-аэрозоль акриловая
Запчасти
Краска-карандаш акриловый
Краска-карандаш акриловый
Запчасти
Крепление батареи и дополнит. элементы
Крепление батареи и дополнит. элементы
Запчасти
Масляный фильтр
Масляный фильтр
Запчасти
Оборотный коленвал с вкладышами подшипн.
Оборотный коленвал с вкладышами подшипн.
Запчасти
Обшивка багажного отделения
Обшивка багажного отделения
Запчасти
Опорный кронштейн педали
Опорный кронштейн педали
Запчасти
Опорный кронштейн педали/педаль сцепл.
Опорный кронштейн педали/педаль сцепл.
Запчасти
Опорный кронштейн педали/педаль тормоза
Опорный кронштейн педали/педаль тормоза
Запчасти
Панель управления отопителя
Панель управления отопителя
Запчасти
Переднее крыло
Переднее крыло
Запчасти
Подвеска двигателя
Подвеска двигателя
Запчасти
Подшипники ступицы колеса
Подшипники ступицы колеса
Запчасти
Полуось задн.моста/подшипн.ступ.колеса
Полуось задн.моста/подшипн.ступ.колеса
Запчасти
Поплавок карбюратора/жиклер
Поплавок карбюратора/жиклер
Запчасти
Поршень
Поршень
Запчасти
Поршневое кольцо
Поршневое кольцо
Запчасти
Провод батареи/кабель на массу
Провод батареи/кабель на массу
Запчасти
Провод высокого напряжения
Провод высокого напряжения
Запчасти
Продольный рычаг подвески
Продольный рычаг подвески
Запчасти
Различные огни
Различные огни
Запчасти
Распорная шайба редуктора заднего моста
Распорная шайба редуктора заднего моста
Запчасти
Распределительный вал
Распределительный вал
Запчасти
Расширительный бачок
Расширительный бачок
Запчасти
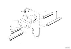
Регулятор давления/пневмоаккумулятор
Регулятор давления/пневмоаккумулятор
Запчасти
Рулевое управление механическое
Рулевое управление механическое
Запчасти
Рулевые тяги с амортизатором рул.управл.
Рулевые тяги с амортизатором рул.управл.
Запчасти
Рулевые тяги/тяги рулевой трапеции
Рулевые тяги/тяги рулевой трапеции
Запчасти
Рычаг выключения
Рычаг выключения
Запчасти
Свеча заж./провод выс.напр./катушка заж.
Свеча заж./провод выс.напр./катушка заж.
Запчасти
Сиденье Пд детали привода сиденья
Сиденье Пд детали привода сиденья
Запчасти
Силовой агрегат
Силовой агрегат
Запчасти
Система стеклоочистителя
Система стеклоочистителя
Запчасти
Смазочная система/маслян.насос с прив.
Смазочная система/маслян.насос с прив.
Запчасти
Стабилизатор Пд
Стабилизатор Пд
Запчасти
Стартер
Стартер
Запчасти
Сумка с инструментами
Сумка с инструментами
Запчасти
Сцепление
Сцепление
Запчасти
Типовой шильдик/шильдик с данными
Типовой шильдик/шильдик с данными
Запчасти
Ткань мерный товар
Ткань мерный товар
Запчасти
Топливный бак
Топливный бак
Запчасти
Топливный насос/топливный фильтр
Топливный насос/топливный фильтр
Запчасти
Топливный фильтр
Топливный фильтр
Запчасти
Тормозной механизм заднего колеса
Тормозной механизм заднего колеса
Запчасти
Трубопровод тормозного привода Зд
Трубопровод тормозного привода Зд
Запчасти
Трубопровод тормозного привода Пд
Трубопровод тормозного привода Пд
Запчасти
Управление сдвижной крышкой люка
Управление сдвижной крышкой люка
Запчасти
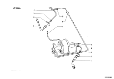
Усилитель тормозов
Усилитель тормозов
Запчасти
Фонарь указателя поворота Пд
Фонарь указателя поворота Пд
Запчасти
Шатун/шатунный подшипник
Шатун/шатунный подшипник
Запчасти
Э/привод сдвижной крышки люка
Э/привод сдвижной крышки люка
Запчасти
Элемент блокир.диффер.редукт.зад.моста
Элемент блокир.диффер.редукт.зад.моста
Запчасти
балка заднего моста
балка заднего моста
Запчасти
балка переднего моста
балка переднего моста
Запчасти
выключатель
выключатель
Запчасти
генератор
генератор
Запчасти
головка блока цилиндров
головка блока цилиндров
Запчасти
детали редуктора заднего моста
детали редуктора заднего моста
Запчасти
детали стартера
детали стартера
Запчасти
заднее крыло
заднее крыло
Запчасти
задний бампер
задний бампер
Запчасти
карбюратор
карбюратор
Запчасти
коленчатый вал
коленчатый вал
Запчасти
наружное зеркало заднего вида
наружное зеркало заднего вида
Запчасти
облицовка панели приборов
облицовка панели приборов
Запчасти
передний бампер
передний бампер
Запчасти
пучок проводов
пучок проводов
Запчасти
редуктор главной передачи
редуктор главной передачи
Запчасти
реле
реле
Запчасти