N300 Pickup (2013 - 2024)
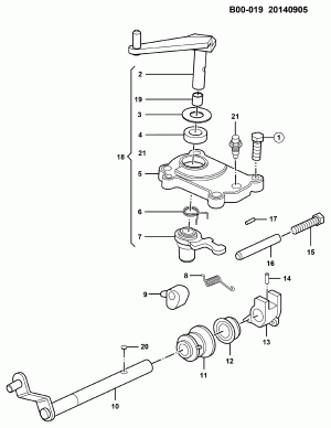
MANUAL TRANSMISSION SHIFTER BAR HOUSING (B15)(L3C,M4N)
Запчасти
MANUAL TRANSMISSION SHIFTER BAR HOUSING SHIFT FORKS & SHAFTS
Запчасти
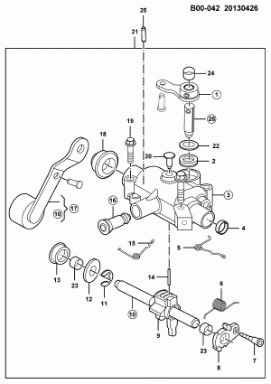
SHIFT CONTROLS/MANUAL TRANSMISSION
Запчасти
SHIFT CONTROLS/MANUAL TRANSMISSION (B15)(L3C,M4N)
Запчасти
SHIFT CONTROLS/MANUAL TRANSMISSION SHIFT CONTROL,EXCLUDE CALLOUT20
Запчасти
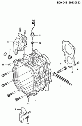
TRANSFER CASE (B15)(L3C,M4N)
Запчасти