cat
by
vin
Найти
Каталоги
Главная
GMC · 3500HD (GMB) (1997 - 2002)
Узел
3500HD (GMB) (1997 - 2002)
Chassis - GMC 6100 - 6150
Запчасти
Chassis - Pick-up - GrandBlazer
Запчасти
Front bumper
Запчасти
Rear bumper
Запчасти
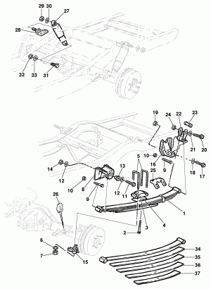
Rear suspension - GMC 6.100 - 6.150
Запчасти
Rear suspension - Picek-up - GrandBlazer
Запчасти