catbyvin

Tx Series - TAUA15L-BWZNTA

ENGINE 1: 2400CC 16-VALVE; ATM,MTM: AUTOMATIC TRANSMISSION; GEAR SHIFT TYPE: ATM, 8-SPEED FLOOR SHIFT; MODEL MARK: N(MODEL MARK)

Головка блока
Раздел
Блок цилиндров
Раздел
Радиатор, шланги
Раздел
Коллекторы
Раздел
Задний мост идифференциал
Раздел
Передние привода (шрус)
Раздел
Тормозная магистраль (трубки)
Раздел
Задний бампер и крепеж
Раздел
Кузов передняя часть
Раздел
Торпеда и детали
Раздел
Заглушки
Раздел
Центральная панель и подлокотник
Раздел
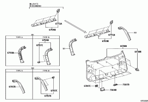
Боковая панель
Раздел
Передне сиденье и каркас
Раздел
Задние сидения и каркас
Раздел
Ремни безопасности и детское сиденье
Раздел
Спойлер и брызговики
Раздел
Топливный бак заливная горловина
Раздел
Провода и клеммы
Раздел
Датчика, реле, компьютер
Раздел
Динамики
Раздел
Печка кондиционер управление
Раздел
Шланги радиатора
Раздел
Печка и кондиционер магистраль кондиционера
Раздел
Боковая панель вентиляции
Боковая панель вентиляции
Запчасти
Боковое стекло
Боковое стекло
Запчасти
Боковые молдинги
Боковые молдинги
Запчасти
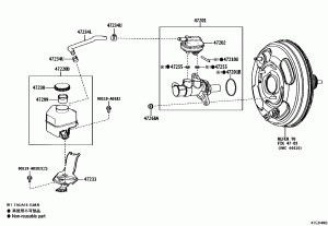
Главный тормозной цилиндр
Главный тормозной цилиндр
Запчасти
Глушитель
Глушитель
Запчасти
Двигатель в сборе
Двигатель в сборе
Запчасти
Диски и колпаки
Диски и колпаки
Запчасти
Задний рулевой механизм (4ws)
Задний рулевой механизм (4ws)
Запчасти
Задняя дверь- панель двери и стекло
Задняя дверь- панель двери и стекло
Запчасти
Задняя камера и монитор
Задняя камера и монитор
Запчасти
Задняя оси и ступица
Задняя оси и ступица
Запчасти
Капот и передние крылья
Капот и передние крылья
Запчасти
Ковровое покрытие и шумоизоляция
Ковровое покрытие и шумоизоляция
Запчасти
Коленвал и поршни
Коленвал и поршни
Запчасти
Контролер акп
Контролер акп
Запчасти
Кронштейн запасного колеса
Кронштейн запасного колеса
Запчасти
Круиз контроль
Круиз контроль
Запчасти
Крышка багажника и стекло
Крышка багажника и стекло
Запчасти
Крышка ремня грм
Крышка ремня грм
Запчасти
Лампа освещения заднего номерного знака
Лампа освещения заднего номерного знака
Запчасти
Масляный насос
Масляный насос
Запчасти
Масляный радиатор
Масляный радиатор
Запчасти
Молдинги
Молдинги
Запчасти
Обивка потолка
Обивка потолка
Запчасти
Омыватель задний
Омыватель задний
Запчасти
Отделка багажника
Отделка багажника
Запчасти
Очистка воздуха (корпус воздушного фильтра патрубки)
Очистка воздуха (корпус воздушного фильтра патрубки)
Запчасти
Панель крыши стекло заднее
Панель крыши стекло заднее
Запчасти
Педаль газа
Педаль газа
Запчасти
Педаль тормоза
Педаль тормоза
Запчасти
Передние тормоза (колодки, суппорта, рем к-т, кожух)
Передние тормоза (колодки, суппорта, рем к-т, кожух)
Запчасти
Передний бампер и детали
Передний бампер и детали
Запчасти
Передняя панель двери и стекло
Передняя панель двери и стекло
Запчасти
Передняя ступица и тормозной диск
Передняя ступица и тормозной диск
Запчасти
Планетарный механизм (акпп)
Планетарный механизм (акпп)
Запчасти
Подушки безопасности
Подушки безопасности
Запчасти
Помпа
Помпа
Запчасти
Поперечины и защита
Поперечины и защита
Запчасти
Приборная панель
Приборная панель
Запчасти
Приемник, усилитель, охладитель
Приемник, усилитель, охладитель
Запчасти
Противотуманки
Противотуманки
Запчасти
Радиатор кондиционера
Радиатор кондиционера
Запчасти
Раздаточная коробка и дифференциал
Раздаточная коробка и дифференциал
Запчасти
Распредвал и клапаны
Распредвал и клапаны
Запчасти
Ремень
Ремень
Запчасти
Салонные лампы
Салонные лампы
Запчасти
Система eco-run
Система eco-run
Запчасти
Система контроля давления в шинах
Система контроля давления в шинах
Запчасти
Система предотвращения столкновений
Система предотвращения столкновений
Запчасти
Стояночный тормоз колодки троса. (ручник)
Стояночный тормоз колодки троса. (ручник)
Запчасти
Топливная система
Топливная система
Запчасти
Фильтр масляный
Фильтр масляный
Запчасти