ATLEON
ANTI SKID CONTROL
Раздел
BRAKE & CLUTCH PEDAL
Запчасти
BRAKE HOSE & BUSH
Запчасти
BRAKE MASTER CYLINDER
Запчасти
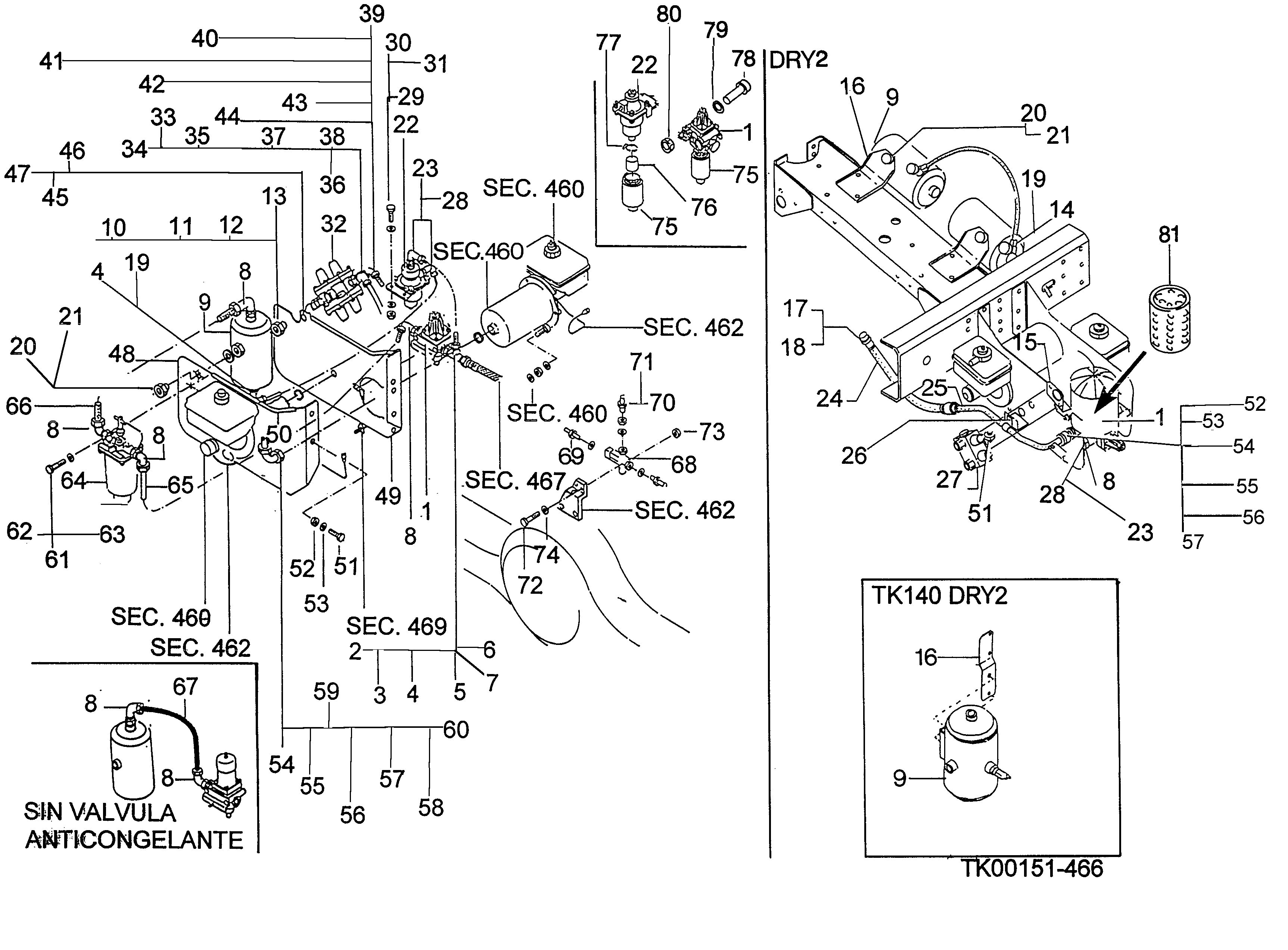
BRAKE PIPING & CONTROL
Раздел
BRAKE SERVO & HOSES
Запчасти
COMP SYS-AIR BRAKE
Раздел
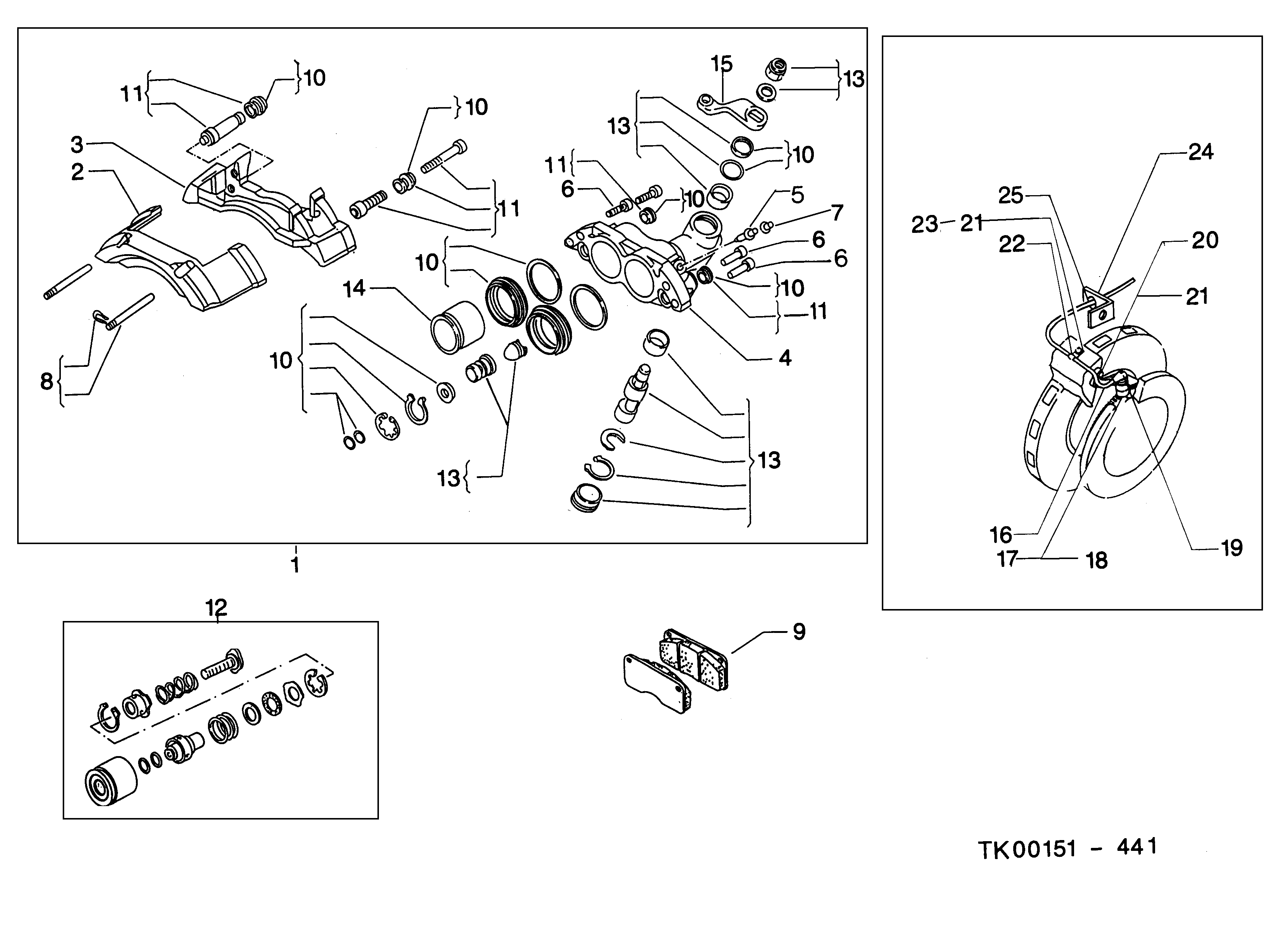
FRONT BRAKE
Раздел
INSTAL.BRAKE VALVE MVS
Запчасти
INSTAL AIR BRAKE PIPING
Запчасти
PARKING BRAKE CONTROL
Запчасти
REAR BRAKE
Раздел
TANK-AIR
Запчасти
VALVE
Запчасти