cat
by
vin
Найти
Каталоги
Главная
PORSCHE · 356B/356C
Узел
356B/356C
1960-1965
Pемонтные комплекты
Запчасти
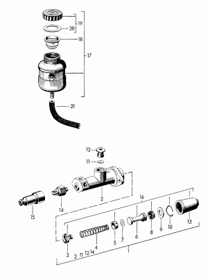
Главный тормозной цилиндр
Запчасти
Колёса/шины
Раздел
Колёсный диск
Запчасти
Колёсный тормозной цилиндр
Запчасти
Тормозная жидкость
Запчасти
Тормозная система
Раздел
Трубопровод тормозной системы
Запчасти