cat
by
vin
Найти
Каталоги
Главная
SEAT · Alhambra ()
Узел
Alhambra ()
1996-2000
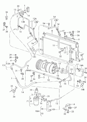
КЛИМАТИЧЕСКАЯ УСТАНОВКА
Запчасти
Конденсатор климат.установки
Запчасти
Трубопровод системы охлаждения
Запчасти